Help us help you. By posting the year, make, model and engine near the beginning of your help request, followed by the symptoms (no start, high idle, misfire etc.) Along with any prevalent Diagnostic Trouble Codes, aka DTCs, other forum members will be able to help you get to a solution more quickly and easily!

Low Power and maybe Limping Mode OBD-1 how to check distributor coils

  • Batiscafo
  • Batiscafo's Avatar Topic Author
  • Offline
  • Senior Member
  • Senior Member
More
6 years 3 months ago #35552 by Batiscafo
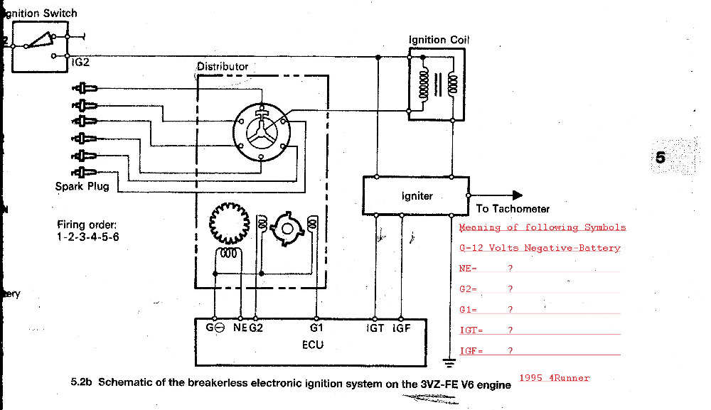
1995 Toyota 4Runner 3VZ-E engine 6 Cyl.

Low Power and undefined missing. Starts rough and has codes 12 14 24
Changed wires and new plugs. Improved a lot but still codes above.

I have been able to locate COntrols Diagram for it. Only Haynes has something kind of generic for the ignition area. Scan included here
The distributor has two coils, one fires de ignator and seems to be working except on cylinder missing

I have the Hantek 1008C that keeps freezing on my old laptop but I would like to see if the confirmation signal from the distributor to the ECM throughout the 4 wires on attached schematic seems to be there only to run the Ignitor so the engine starts and runs rough with one cylinder (#3 I belive) not having spark at all on the Secondary Ignition parade.
My suspicion is that the two other coils tat I ASSUME that are the confirmation asper failure code 14 and 24, are not reporting to the ECM.
I can think only could be wires broken or Hall sensors not picking up from inside the distributor. There is a label inside for the sensing unit with the coils and Hall effect stuff. it says: DO NOT REMOVE THIS. (black plastic with sensors and 4 wire connector included as a system.
I test the for connectors with the Voltmeter and with ignition on there is no +voltage on any of the four wires/connector.
My understanding is that hall effect sensors need a voltage suplied to them.
Am I correct? None have B+ or ECU signal +5 Volts with Key on RUN and engine off.

How can I determine which of those 4 terminals are with reference to the coild inside?
How to hook up the Scope among those cables? I have an old analog Textronik 465M that I will try to set up tomorrow and check a few voltages and is there any sense I can make.

Any ideas for what else to check ?
Thanks
Attachments:

Please Log in or Create an account to join the conversation.

Time to create page: 0.211 seconds